发表时间:2025-05-08 15:16:07
本文由定制化的企业情报智能服务平台——【情报强企】提供,点击获取企业定制情报
产业研究
中国母婴市场:短期回暖与长期承压交织
标签:#母婴 #市场 #母婴 行业

尼尔森IQ发布的《洞悉周期,穿越周期:中国母婴市场报告》指出,目前母婴行业正处于一个短暂的反弹周期。2024年中国母婴市场总销售额同比下滑3.2%,主要受出生率下降影响。虽然消费需求整体呈下降趋势,但母婴市场仍有不少增长潜力。
企业资讯
【境外消息】金佰利任命总裁兼首席运营官
标签:#Kimberly-Clark
金佰利公司宣布,北美总裁Russ Torres被提升为总裁兼首席运营官,立即生效。Torres将负责金佰利公司业务部门的日常运营,还将负责全球供应链、研发、全球增长和数字技术解决方案组织。
广东康怡新增卫生巾设备
标签:#广东康怡 #卫生巾

近日,广东康怡卫生用品有限公司新增卫生巾设备,提供更智能、更高效的生产方案。康怡采用全流程封闭式洁净生产环境,结合智能纠偏系统减少人为误差风险,同时通过提高资源利用效率减少损耗。
行业动态
【境外消息】GreenCore尿布在欧洲生产
标签:#diaper
GreenCore Solutions Corp.宣布其TreeFree 尿布已在欧洲全面生产,这是RPLP的重要里程碑。该尿布100%欧洲制造,满足欧盟零售商需求。专为杂货店和药房私人品牌设计,利用通用包装系统,让零售商能以自有品牌库存和补货高性能产品。
【境外消息】LG尤妮佳旗下卫生巾品牌SOFY推出Cooling Fresh
标签:#생리대

LG尤妮佳旗下卫生巾品牌SOFY推出了新产品Cooling Fresh,包括42cm的超长尺寸生理用品和护垫。这款产品采用了“清凉降温片”,在夏季使用时特别适合。清凉降温片接触皮肤时会带来清凉感,减少夏季生理期带来的不适感,同时薄荷香味也增添清爽感。
延江股份2024年实现营业收入14.85亿元
标签:#延江股份

延江股份2024年营收约14.85亿,增17.96%;净利润约2728.43万,增30.72%。打孔热风非织造布业务增29.37%,PE业务稳定。未来,公司将应对关税调整,拓展客户,扩展产品线,加强海外供应能力。
前沿技术
[实用新型] 一种超薄护理垫
标签:#无纺布

中天(中国)工业有限公司公开了一种超薄护理垫,由透液性表层、吸水层和透气底膜组成,吸水层与透气底膜通过线胶或点胶粘接,边缘以包边无纺布连接。吸水层含膨松无纺布和高分子吸水树脂,边缘设阻挡条。透气底膜复合而成,轻薄透气,抗菌效果好。
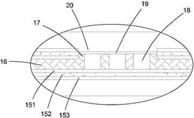
[实用新型] 一种多层草本护理卫生巾及护垫
标签:#卫生巾

泉州市洛江区汇丰妇幼用品有限公司公开了可以提高前后导流效果避免侧漏的一种多层草本护理卫生巾及护垫,含一次性吸收本体,包括面层、吸收芯体、底层,速吸导流层上设凸起部及草本护理层,左右两侧翻折形成导流槽,提高前后导流效果,避免侧漏。
本文内容来源于网络资料,由【情报强企】整理
