发表时间:2025-10-11 15:20:28
本文由定制化的企业情报智能服务平台——【情报强企】提供,点击获取企业定制情报
产业研究
行业专题研究:运动鞋服,国内外行业深度复盘,探寻本土运动公司增长关键
标签:#运动鞋服
报告显示,运动鞋服全球市场呈现多样化发展,中国、美国和日本市场增长显著。健康与功能性需求提升推动行业韧性增强,消费者偏好向舒适与耐用型产品转移。本土品牌通过产品创新与品牌策略优化实现差异化竞争优势,市场表现亮眼,展现出强劲增长潜力。
行业动态
【境外消息】匡威推出经典运动鞋,采用防风雨的 Gore-Tex
标签:#sneakers

匡威 Chuck 70 高帮经典款运动鞋推出了 GORE-TEX 防水版,配备防撞耐磨的戈尔特斯面料,适合秋季潮湿和寒冷环境穿着。鞋款保留了 Chuck 70 经典外观,但加入了高品质防水透气材料。共有米色和黑色两种选择。
【境外消息】Salehe Bembury推出带有Osmosis运动鞋的SPUNGE
标签:#sneakers

Salehe Bembury推出了自己独立的鞋履品牌SPUNGE,品牌的首个款式Osmosis采用了专有的缓冲系统SQUISH TECH™,旨在提供舒适性和性能可信度,并强调技术鞋履设计的独创性。
耐克新款原型鞋在2025芝加哥马拉松赛前悄然获批
标签:#耐克 #首发 #标准

耐克的Nike-Dev 16141原型鞋在2025年芝加哥马拉松赛前悄然获批。这款新款跑鞋符合世界田联规定,预示着耐克即将推出超级跑鞋系列的下一代产品。
李宁经典 IP「悟道」系列全新力作 —— 以东方哲思,定义当代舒适美学!
标签:#李宁

李宁经典 IP「悟道」系列推出新鞋款:悟道 3.0ACE与悟道 3.0,融合中式文化哲学与现代舒适设计。鞋款以「化繁为简」理念打造,设计流畅线条与不对称形态,传达东方美学同时契合人体足部形态。
解码贵州科学城 | “贵阳造”3D打印鞋“走”到地球另一端
标签:#运动鞋 #数据 #市场

贵州科学城3D打印鞋技术日臻成熟,以HALS技术为基础,生产出轻巧透气的定制鞋。公司采用高速光固化技术,从鞋底到鞋面一体成型,实现了轻、支撑兼具的特点。3D打印鞋不仅提高效率,还取消了传统制鞋工艺中的胶水环节,符合绿色发展理念。
前沿技术
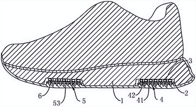
[实用新型] 一种减震抗冲击运动鞋
标签:#鞋 #运动鞋

温州市布尔康鞋业有限公司公开了一种减震抗冲击运动鞋,鞋底有空腔,空腔顶置减震气囊,底部有缓冲结构,含横向扭转气囊,可对竖向和横向冲击力都进行减震。
[实用新型] 一种RB大底加高加厚防水运动鞋
标签:#鞋 #运动鞋

安踏(中国)有限公司和福建省嘉辰体育用品有限公司公开了一种RB大底加高加厚防水运动鞋,鞋面两侧有鞋带孔并配鞋带,鞋带孔下方有柔性收纳袋,内装弹性防水布,可拉出覆盖鞋带孔防雨水溅入,提高穿着舒适度。
本文内容来源于网络资料,由【情报强企】整理
关于情报强企
情报强企是国内领先的企业情报服务商,为企业提供定制化的线上情报搜集与管理服务。情报强企平台帮助企业自动抓取并推送行业最新动态,无需部署安装,支持多账号使用,实现多部门情报共享,助力企业决策。
