Published PM GMT+8 GMT+8, December 18, 2025,
This article is provided by [InsightEmpower], a customized enterprise intelligence and smart service platform.Click to get your enterprise’s tailored intelligence solution.
Corporate News
[UK] Envision AESC’s Sunderland Battery Gigafactory Commences Operations
Tags: #EnvisionAESC

On December 16, Envision AESC announced the official commissioning of its Sunderland battery gigafactory in the United Kingdom. With a first-phase planned capacity of 15.8 GWh, the facility is expected to supply batteries for more than 200,000 electric vehicles annually, making it the largest battery manufacturing base in the UK and a key driver of the country’s green industrial transformation.
[China] GoodWe Launches New Commercial & Industrial Solar Hybrid Inverters
Tags: #GoodWe

GoodWe has introduced a new series of commercial and industrial (C&I) solar hybrid inverters, comprising three models with output power ranging from 80 kW to 100 kW. The inverters feature eight MPPTs and input currents of up to 42 A. Designed for high performance, the products support continuous operation at 110% output power and achieve a maximum efficiency of 98.1%.
Industry Developments
[Czech Republic] Battery Energy Storage Deployment Expected to Reach 6 GWh by 2030
Tags: #EnergyStorageSystems
According to research institutions, battery energy storage system (BESS) capacity in the Czech Republic is projected to increase from approximately 2.3 GWh today to 6 GWh by 2030. BESS projects scheduled to come online next year—designed for two-hour duration with 1.5 daily charge-discharge cycles—are expected to achieve full investment payback within five years, with internal rates of return exceeding 15%. This outlook is driven by high balancing market prices and increasing volatility in wholesale electricity markets.
[Australia] 2,200 MWh of Grid-Forming BESS Projects Advance Development
Tags: #GridForming #Fluence #EnergyStorageSystems

Renewable energy developers FRV Australia and AGL Energy have made significant progress on two battery energy storage projects in Australia, with a combined storage capacity of 2,200 MWh. The projects will incorporate grid-forming capabilities, enhancing power system stability and supporting the integration of renewable energy.
[United States] Sunrun and NRG Energy Partner to Expand Residential Battery Market in Texas
Tags: #NRGEnergy
Sunrun has partnered with NRG Energy to jointly expand the residential energy storage market in Texas. The collaboration integrates Sunrun’s solar generation and battery systems with retail electricity services provided by NRG subsidiary Reliant, offering optimized electricity pricing plans and battery dispatch services to homeowners.
[China] Sunwoda Advances Utility-Scale Energy Storage Projects in Gao’an, Jiangxi
Tags: #UtilityScaleStorage
On December 16, Sunwoda signed a cooperation agreement with the People’s Government of Gao’an City, Jiangxi Province, to jointly promote the development of a “zero-carbon city powered by multi-energy integration.” The partnership focuses on the large-scale application of renewable energy and energy storage technologies, accelerating project implementation and building a zero-carbon industrial ecosystem. Sunwoda will leverage its technological expertise and project experience to enhance the cleanliness and resilience of the local energy system.
Policy & Regulation
[China] Three Provinces Pilot Market-Based Power Pricing, Challenging Traditional C&I Storage Models
Tags: #EnergyStorageSystems #PowerPolicy

Shaanxi Province has announced that, starting in 2026, market-based electricity users will no longer follow fixed peak–valley pricing mechanisms. Instead, prices will be determined through market transactions, with the lowest prices expected during midday periods of high solar generation. Non-market users will continue to follow existing time-of-use pricing. Liaoning, Sichuan, and other provinces are also piloting similar reforms, presenting both challenges and transformation opportunities for commercial and industrial energy storage.
[Vietnam] Vietnam Issues Pricing Framework for Battery Energy Storage Power Services
Tags: #EnergyStorageManagementSystem

Vietnam’s Ministry of Industry and Trade has issued a circular defining pricing mechanisms and frameworks for battery energy storage power generation services. The regulation details methods for determining and approving service prices and applies to organizations and individuals operating battery energy storage systems connected to the national grid at voltage levels of 110 kV and above, with capacities starting from 10 MW, and participating in national grid support programs.
Technology & Innovation
[Invention Patent] Method for Predicting the Service Life of Photovoltaic Inverters
Tags: #Inverter
China Energy Engineering Group Construction Co., Ltd. has disclosed a patented method for predicting the service life of photovoltaic inverters. The approach integrates operational waveform data with device structural parameters, uses transient electrical event inversion to determine physical state variables, generates corrected temperature profiles, updates path-dependent damage states, and evaluates critical stability margins to accurately estimate remaining inverter lifespan.
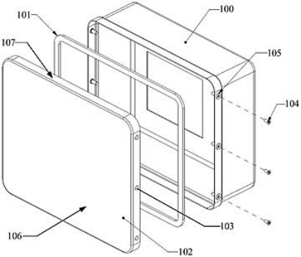
[Utility Model] Inverter Enclosure and Photovoltaic Inverter Design
Tags: #Inverter #SolarInverter

Guangzhou Sanjing Electric Co., Ltd. has introduced a new inverter enclosure and photovoltaic inverter design. The enclosure consists of a base frame, sealing components, and a cover plate, forming a sealed structure without requiring the base frame to be folded. This design improves space utilization while reducing manufacturing costs.
The content of this article is sourced from online sources and organized by'InsightEmpower'.
