发表时间:2025-11-24 17:44:15
本文由定制化的企业情报智能服务平台——【情报强企】提供,点击获取企业定制情报
产业研究
原创|2025年10月我国运动鞋进出口数据报告
标签:#运动鞋 #进出口 #海关数据
情报强企根据海关总署的数据,对运动鞋进出口数据进行统计与分析。数据显示,2025年10月,我国运动鞋进出口数量同比下降28.21%;进出口金额同比下降28.02%。
行业动态
安踏集团牵头成立国内首个体育用品质量标准创新联盟
标签:#标准 #创新 #运动鞋

安踏集团牵头成立国内首个体育用品质量标准创新联盟,旨在构建集“产、学、研、检、用”于一体的质量标准创新协同平台。联盟将聚焦运动鞋服新材料、新工艺、可持续性及智能化等前沿领域,共同开展全球领先标准的制定工作,引领全球创新。
2025年度CITI、CATI指数TOP50发布,adidas实现双指数领跑
标签:#发布 #阿迪达斯 #消费者

中国公众环境研究中心发布绿色供应链CITI指数和气候行动CATI指数年度报告,adidas在23个行业、800家企业中双双位居第一,彰显其在可持续发展方面的领先地位。adidas坚持二十余年的绿色生态战略,产品中再生聚酯纤维使用率达到99%。
【境外消息】这款全新升级的耐克P-6000运动鞋甫一上市,就迅速俘获了青少年群体的芳心
标签:#chaussures de sport

耐克全新升级的P-6000运动鞋受青少年喜爱,以未来感线条致敬经典,融合复古与现代设计,适合街头搭配。鞋面采用真皮、合成材质与网布组合,透气舒适;泡沫中底缓震效果卓越,吸收冲击力,适合追求舒适与能量反馈的跑者。
体育品牌转向文化叙事新赛道
标签:#李宁 #阿迪达斯 #耐克
体育品牌在全运会展示科技与文化双重力量,迎来技术深耕与文化深耕的新转变。安踏、李宁、耐克等品牌在研发投入增加、文化传播精准化等方面展现出竞争实力。体育品牌正在告别流量争夺,转向文化叙事新赛道,以长期主义与消费者建立深层连接。
【境外消息】Ardoix:ASF 4.0 在葡萄牙开设第二家运动鞋制造工厂
标签:#chaussures de sport

阿杜瓦市ASF 4.0集团作为Chamatex集团的子公司,成功完成了一轮重要融资,启动了其在葡萄牙的第二家自动化运动鞋制造工厂。新工厂位于波尔图北部的巴塞洛斯,计划在七月开始生产。首阶段将安装两条生产线,年度产能达50万双鞋,预计实现2000万欧元营业额。
前沿技术
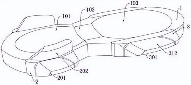
[实用新型] 一种防侧倾鞋底
标签:#鞋

广东乐骏新材料有限公司公开了一种防侧倾鞋底,含鞋底主体、贴合组件,其外部有后支撑条(连后弹性块、弧形支撑块,后弹性块带后斜面)、前支撑条(连前弹性块)及安装组件。后支撑条等对后脚掌及脚踝全面支撑保护,后弹性块能缓冲落地冲击力,减轻震动对脚部和腿部关节的影响。
[实用新型] 一种减震垫及采用此减震垫的鞋底
标签:#鞋

杨团围公开了一种减震垫及含其的鞋底。减震垫为55-75D硬度条形一体成型件,底面有向鞋跟方向上倾的倾斜段和横向段,内设沿宽度贯穿、两端内径渐小的通孔。行走时倾斜段受压减震,抬脚时复位产生向上向前助推力,结构无真空,刮伤不影响减震效果,稳定且能减少足部疲劳。
本文内容来源于网络资料,由【情报强企】整理
关于情报强企
情报强企是国内领先的企业情报服务商,为企业提供定制化的线上情报搜集与管理服务。情报强企平台帮助企业自动抓取并推送行业最新动态,无需部署安装,支持多账号使用,实现多部门情报共享,助力企业决策。
