Published PM GMT+8 GMT+8, November 4, 2025,
This article is provided by [InsightEmpower], a customized enterprise intelligence and smart service platform.Click to get your enterprise’s tailored intelligence solution.
Corporate News
[China] Envision Launches Nation’s Largest Load-Side Energy Storage Project, Setting a Zero-Carbon Benchmark for High-Energy Industries
Tags: #EnvisionEnergyStorage

Jiyuan Iron & Steel Group’s 80MW / 240MWh load-side energy storage project has officially entered operation, marking a milestone in the zero-carbon transformation of high-energy-consuming industries. Powered by Envision’s 5MWh all-in-one AC/DC intelligent storage system, the project actively participates in grid peak regulation, significantly improving power efficiency and green electricity utilization across the Jiyuan plant.
[Europe] Trina Solar Secures Over 1GWh European Energy Storage Order
Tags: #TrinaSolar
Trina Solar has signed a contract with a European client to supply over 1GWh of its next-generation Elementa 2 Pro flexible energy storage containers. The system increases energy density by 12% and maintains an internal temperature variation within 2.5°C. With hybrid air-liquid cooling and long-lifespan battery cells, the new system substantially reduces overall energy costs.
Industry Developments
[United Kingdom] Elements Green Expands Investment in German Battery Storage Projects
Tags: #EnergyStorageSystem #InstalledCapacity #Construction

UK-based Elements Green announced an expansion of its investment in battery storage projects in Germany. The Lower Saxony project’s capacity will increase to 1.6GWh with a four-hour discharge duration. The company plans to invest €2 billion in Germany by 2028, developing eight large-scale projects totaling approximately 3.2GW of installed capacity.
[Australia] Victoria Approves 2,200MWh Battery Storage Project Under Simplified Permitting Process
Tags: #EnergyStorage

The Victoria State Government has approved the 300MW Gippsland Battery Energy Storage System and the 332MW Northeast Solar PV Project, with a total investment of AUD 1.2 billion. These projects are expected to create over 650 jobs and further advance Australia’s clean energy transition.
[United States] China’s Lithium Battery Makers Support U.S. Data Security — Nandu Power Delivers Data Center Energy Storage System
Tags: #DataCenter #CATL #EVEnergy

Nandu Power has successfully delivered an energy storage solution for a U.S. data center, providing reliable backup power. After multiple certifications and client validations in North America, Nandu began shipments in 2023 and expects to reach RMB 1 billion in revenue by 2025, with further performance growth projected for 2026.
[China] Canadian Solar Achieves 5.8GWh Energy Storage Shipments in Q1–Q3 2025, Up 32% YoY
Tags: #UtilityScaleStorage #EnergyStorageSystem #Performance

Canadian Solar reported RMB 10.218 billion in revenue for Q3 2025, down 16.38% year-on-year, and a net profit of RMB 258 million, down 63.96%. Despite overall revenue decline, its large-scale energy storage shipments rose sharply, highlighting the segment’s growing importance in the company’s portfolio.
Policy Updates
[France] France Introduces New Grid Tariff Reform for Energy Storage
Tags: #EnergyStorage

Starting August 2026, battery storage projects in France will benefit from a new grid pricing mechanism that rewards power injection and withdrawal based on real-time grid demand to reduce local peak loads. The reform is expected to lower grid costs and improve project returns, though some experts argue it still lags behind market realities and raises intergenerational equity concerns.
[Vietnam] Vietnam Issues 15 Updated National Standards for Lithium Batteries
Tags: #EnergyStorageSystem

Vietnam has released 15 new national standards governing lithium battery production — covering technical requirements, safety, and testing protocols. These standards aim to establish a unified legal and technical framework to accelerate the country’s battery manufacturing and clean energy equipment sectors, supporting its 2050 net-zero emissions goal.
Technology Frontiers
[Utility Model] A New Photovoltaic Inverter Design
Tags: #Inverter

Shanghai Sigyuan Intelligent Technology has unveiled a photovoltaic inverter featuring a dual-circuit board design that reduces overall thickness by utilizing component height differentials. The lower housing includes a raised convex structure dividing internal compartments to optimize space and provide dedicated heat dissipation paths for key components.
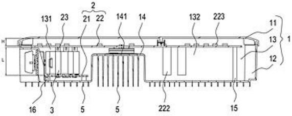
[Utility Model] Inverted Lampshade Structure with Sealing Strip for Inverters
Tags: #Inverter

Suzhou AST Energy Technology Co., Ltd. introduced a novel inverted lampshade structure for inverters, employing interlocking rings, limit blocks, and sealing gaskets to ensure a tight seal between the cover and its base. This prevents dust ingress, extending the lifespan of sensitive electronic components.
The content of this article is sourced from online sources and organized by'InsightEmpower'.
